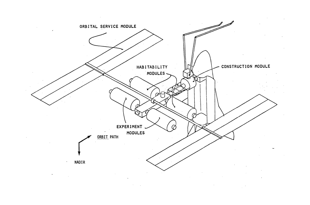
SOC Concept Analysis SOC BASIC ELEMENTS SOC COMMUNICATIONS SOC OPERATIONS FACILITIES CONSTRUCTION AND FLIGHT SUPPORT OPERATIONS Habitat Module Configuration SOC Initial Concept Platform Construction OTV Retrieval and Assembly Current Configuration Manned Geosynchronous Mission 19800015850 Image credit: NASA Image source: NASA NTRS Share this: Share on X (Opens in new window) X Share on Tumblr (Opens in new window) Tumblr Share on Pinterest (Opens in new window) Pinterest Email a link to a friend (Opens in new window) Email Like Loading...