
Image credit: Boeing
Image source: Numbers Station

Image credit: Boeing
Image source: Numbers Station

Image credit: NASA
Image source: National Archives

A view of a model of the first stage of a two-stage horizontal takeoff and landing vehicle designed to place shuttle class payloads in low earth orbit. The model will be used in launcher studies by the Aeromechanics Division of the Flight Dynamics Laboratory.
Image credit: NASA
Image source: National Archives

Image credit: Bell Aircraft Corporation
Image source: AFMC

Image credit: NASA
Image source: National Archives

Image credit: NASA
Image source: National Archives
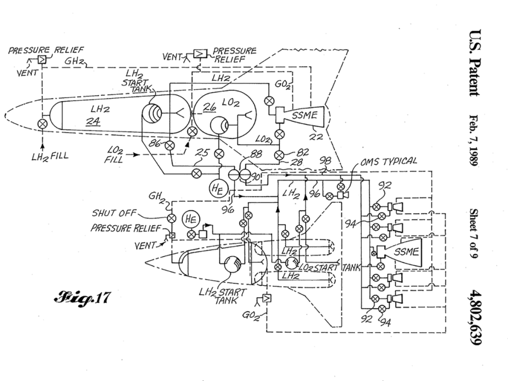
This invention is directed toward providing a transatmospheric launch system that is essentially totally reusable, provides wide flexibility in choice of orbit, and may be launched quickly on short notice. The system of the invention is a two-stage horizontal takeoff and landing system. An orbiter vehicle (50) is integrated into the underside of an aircraft (2). Aircraft (2) has a cavity (4) opening aftwardly and downwardly to receive vehicle (50). Vehicle (50) and aircraft (2) are releasably connected by struts (30, 32). Aircraft (2) and vehicle (50) proceed to staging conditions under air breathing and then rocket power. Rocket engine (22) of aircraft (2) is throttled to produce a thrust differential with rocket engine (66) of vehicle (50). This differential causes vehicle (50) to automatically pivot away from aircraft (2) on struts (30, 32). After pivoting out of cavity (4), vehicle (50) is disengaged from struts (30, 32) and proceeds on its own to orbit. Aircraft (2) makes a conventional landing. Following reentry, vehicle (50) makes an unpowered horizontal landing. Separation is accomplished at a Mach number of about 3.3. In a second embodiment, the main engine of the orbiter (50′) is a scramjet (101) instead of a rocket.









Image credit: Boeing
File source: Google Patents





Image credit: Lockheed
File source: NASA NTRS


Image credit: Lockheed
File source: NASA NTRS


Image credit: Lockheed
File source: NASA NTRS

Image credit: Lockheed
File source: NASA NTRS